午夜免费福利,午夜成人小视频,成人午夜免费视频,午夜成人APP在线观看

logo nu Map
网站首页公司简介产品展示企业动态产品报价技术文章在线留言联系午夜免费福利
江苏午夜成人APP在线观看仪表有限公司
导航菜单
流量计系列
· 智能电磁流量计
· 插入式电磁流量计
· 分体式电磁流量计
· 卫生型电磁流量计
· 阿牛巴流量计
· V锥流量计
· 午夜成人小视频
· 旋进旋涡流量计
· 成人午夜免费视频
· 涡轮流量计
· 转子流量计
· 椭圆齿轮流量计
· 平衡流量计
· 弯管流量计
· 楔形流量计
· 靶式流量计
· 节流装置
· 热式气体质量流量计
· 一体化成人午夜免费视频
· 午夜免费福利
· 气体涡轮流量计
· 金属管浮子流量计
· 温压补偿午夜成人小视频
· 一体化威力巴流量计
· 蒸汽流量计
· 阀门组
温度仪表系列
· 热电阻
· 热电偶
· 温度变送器
· 双金属温度计
压力仪表系列
· 压力变送器
· 差压变送器
· 压力真空表
· 精密压力表
· 膜盒压力表
· 隔膜压力表
· 耐震压力表
· 不锈钢压力表
· 电接点压力表
校验仪表系列
· 校验仿真仪
· 多功能校验仪
· 精密数字压力计
· 全自动校验装置
· 智能压力校验仪
· 手(电,自)动气压源
· 手(电,自)动液压源
液位仪表系列
· 密度计
· 液位变送器
· 锅炉液位计
· 磁翻板液位计
· 超声波液位计
显示,记录仪表系列
· 智能巡检仪
· 智能调节仪
· 无(有)纸记录仪
· 安全栅、隔离器
料位开关/料位计
· 料位计
· 料位开关
mulu
搜索 请输入关键字
联系午夜免费福利
江苏午夜成人APP在线观看仪表有限公司
    址:江苏省金湖工业园区
    编:211600
    话:0517-86500336      
                        86500226
    真:0517-86800636
联系人:杨经      
手机:13915187193(微信同号)
E-mail:jshdyb@163.com
 
 首页>>产品展示>>温度仪表系列>>热电偶
产品展示  

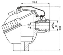
装配热电偶

装配热电偶
 点击放大
产品型号:
HD-WR系列
产品报价:
询价
产品特点:
装配热电偶通常和显示仪表、记录仪表、电子计算等配套使用。直接测量各种生产过程中的0°C~1300°C范围内液体、蒸汽和气体介质以及固体表面温度。
  HD-WR系列装配热电偶的详细资料:

 
应用
  通常和显示仪表、记录仪表、电子计算机等配套使用。直接测量各种生产过程中0~1300℃范围内的液体、蒸汽和气体介质以及固体表面温度。

 
 
特点
●装配简单,更换方便;
●压簧式感温元件,抗振性能好;
●测量范围大;
●机械强度高,耐压性能好;
工作原理
  热电偶的电极由两根不同导体材质组成。当测量端与参比端存在温差时,就会产生热电势,工作仪表便显示出热电势所对应的温度值。 
主要技术参数
○产品执行标准
IEC584
IEC1515
GB/T16839-1997
JB/T5582-91
 
○常温绝缘电阻
  热电偶在环境温度为20±15℃,相对湿度不大于80%,试验电压为500±50V(直流)电极与外套管之间的绝缘电阻≥100MΩ.m。
○测量范围及允差
型号
分度号
允许误差与偶材等级
I级
II级
允差值
测温范围℃
允差值
测温范围℃
HD-WRN
K
±1.5℃
±0.004│t│
-40~+375
375~1000
±2.5℃
±0.0075│t│
-40~+333
333~1200
HD-WRM
N
±1.5℃
±0.004│t│
-40~+375
375~1000
±2.5℃
±0.0075│t│
-40~+333
333~1200
HD-WRE
E
±1.5℃
±0.004│t│
-40~+375
375~800
±1.5℃
±0.004│t│
-40~+333
333~900
HD-WRF
J
±1.5℃
±0.004│t│
-40~+375
375~750
±1.5℃
±0.004│t│
-40~+333
333~750
HD-WRC
T
±1.5℃
±0.004│t│
-40-~+125
125~350
±1℃
±0.0075│t│
-40~+333
133~350
HD-WRP
S
±1℃
±[1+0.003(t-1100)]
0~+1100
1100~1600
±2.5℃
±0.0025│t│
0~600
600~1600
○接线盒形式
点击看大图
防水式
防喷式
  注:电气出口M未特殊指明,一律视为M20×1.5。
型号命名方法
 
 
 
 
 
 
 
 
 
 
 
HD-W
温度仪表
 
 
|
|
|
|
|
|
|
|
|
|
|
|
|
|
|
|
|
|
|
|
|
|
|
|
|
|
|
|
|
|
|
|
|
|
|
|
|
|
|
|
|
|
|
|
|
|
R
热电偶
 
 
|
|
|
|
|
|
|
|
|
|
|
|
|
|
|
|
|
|
|
|
|
|
|
|
|
|
|
|
|
|
|
|
|
|
|
|
|
|
|
|
|
|
|
|
|
感温元件材料         分度号
M
N
E
F
C
P
Q
R
镍铬硅-镍硅       N
镍铬-镍硅         K
镍铬-铜镍         E
铁-铜镍           J
铜-铜镍           T
铂铑10-铂         S
铂铑13-铂         R
铂铑30-铂6        B

|
|
|
|
|
|
|
|
|
|
|
|
|
|
|
|
|
|
|
|
|
|
|
|
|
|
|
|
|
|
|
|
|
|
偶丝对数

2
单支
双支

|
|
|
|
|
|
|
|
|
|
|
|
|
|
|
|
|
|
|
|
|
|
|
|
|
|
|
|
|
|
|
 
安装固定形式
1
2
3
4
5
6
无固定装置
固定螺纹
活动法兰
固定法兰
活络管接头式
锥形固定螺纹式
|
|
|
|
|
|
|
|
|
|
|
|
|
|
|
|
|
接线盒形式
2
3
4
防喷式
防水式
防爆式
|
|
|
|
|
|
|
|
|
|
|
|
|
|
|
|
|
保护管直径
0
1
2
3
Φ16
Φ20
Φ16高铝质管
Φ20高铝质管
|
|
|
|
|
|
|
|
|
|
工作端形式
G
变截面
|
|
|
|
|
|
|
|
 
 
HD-W
R
N
2
——
2
3
1
G
  典型型号示例
 
 
点击看大图
选型须知
1)型号
2)分度号
3)精度等级
4)安装固定形式
5)保护管材质
6)长度或插入深度
    
例A:热电偶,K型,Ⅰ级,固定螺纹 M27×2,保护管316L,长度450mm,插入深度300mm。HD-WRN-220,K偶,L×I=450×300,Ⅰ级,保护管316L,螺纹M27×2。
热电偶(适用于铠装和隔爆热电偶)
 
序号
形式
保护管材质
公称压力
热响应时间
备注
1
无固定
高铝质
(仅适用于N或K分度号)
1Cr18Ni9Ti
0Cr25Ni20
(适用于所有选型上热电偶)
常压
<24S
(适用于工作温度截面式)
<90S
(除了变截面式)
护管直径为φ16,φ20
φ16高铝质管φ20高铝质管具体要求双方协商而定
2
固定螺纹
≤10MPa
3
活动法兰
常压
4
固定法兰
≤2.5MPa
5
活络管接头式
常压
6
锥形固定螺纹式
≤30MPa
7
直形管接头式
常压
8
固定螺纹管接头式
9
活动螺纹管接头式
 
 
 
固定装置类型
插入深度L (mm)
附注
150
200
250
300
350
500
1000
1500
2000
无固定
保护管总长
L=l+150插入
深度及其保
护管材质可
按协议定货
固定螺纹
活动法兰
固定法兰
活络管接头式
锥形固定螺纹式
直形管接头式
固定螺纹管接头式
活动螺纹管接头式
 
 
保护管材质及选用
 
材质
使用温度
特点及用途
1Cr185Ni9Ti
-200~800
具有高温耐蚀性,通常作为一般热钢使用
304
-200~800
低碳含量,具有良好耐晶间腐蚀性,通常作为一般耐热钢使用
316
-200~750
低碳含量,具有良好耐晶间腐蚀性,作为耐腐蚀钢使用
316L
-200~750
超低碳含量,具有良好耐晶间腐蚀性,作为耐腐蚀钢使用
310S
-200~1000
具有高温抗氧化性,耐腐蚀型通常作为热钢使用
GH3030
0~1100
镍基高温合金钢,具有优良抗氧化性,耐腐蚀型,通常作为耐热钢使用
 

产品相关关键字:装配热电偶的价格,装配热电偶的生产厂家,哪里买装配热电偶
 如果你对HD-WR系列装配热电偶感兴趣,想了解更详细的产品信息,填写下表直接与厂家联系:

产品名称:
公司:
姓名:
电话:
传真:
邮箱:
留言:
 *
验证码:
 *验证码
 
                      
 相关同类产品:
防爆数字温度显示仪
防爆数字温度显示仪
多点热电阻
多点热电阻
双金属温度计
双金属温度计
耐震双金属温度计
耐震双金属温度计
 
江苏午夜成人APP在线观看仪表有限公司  版权所有     地址:江苏省金湖工业园区   邮编:211600
           电话:0517-86500226   86500336 传真:0517-86800636   手机:13915187193    联系人:杨经理
E-mail:jshdyb@163.com   GoogleSitemap   baidusitemap 网址:http://www.9xiw.com 
网站地图