特点
|
|
WZ系列装配式热电阻作为温度测量传感器,通常与温度变送器,调节器以及显示仪表等配套使用,组成过程控制系统,用以直接测量或控制各种生产过程中-200℃-500℃范围内的液体,蒸汽和气体介质以及固体表面的温度.
|
|
应用
|
|
通常和显示仪表、记录仪表等配套使用。直接测量生产过程中的-200~500℃范围内液体、蒸汽和气体介质以及固体表面温度。
|
工作原理
|
|
热电阻是利用物质在温度变化时,其电阻也随着发生变化的特征来测量温度的。当阻值变化时,工作仪表便显示出阻值所对应的温度值。
|
主要技术参数
|
|
|
○产品执行标准
IEC751
JB/T8622-1997
JB/T8623-1997
○常温绝缘电阻
热电阻在环境温度为15~35℃,相对湿度不大于80%,试验电压为10~100V(直流)电极与外套管之间的绝缘电阻≥100MΩ。
○测温范围及允差
|
|
型号
|
分度号
|
测温范围℃
|
精度等级
|
允许偏差
|
|
HD-WZP
|
Pt100
|
-200~+500
|
A级
|
±(0.15+0.002|t|)
|
|
HD-WZC
|
Cu50
|
|
B级
|
±(0.30+0.005|t|)
|
|
|
Cu100
|
-50~+100
|
-
|
±(0.30+0.006|t|)
|
|
|
注:t为感温元件实测温度绝对值。
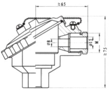
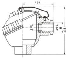
○接线盒形式
|

防喷式
|

防水式
|
|
|
注:电气出口M未特殊指明,一律视为M20×1.5。
|
型号命名方法
|
|
|
W
|
温度仪表
|
|
|
|
|
|
|
|
|
|
|
|
|
|
|
|
|
|
|
|
|
|
|
|
|
|
|
|
|
|
|
|
|
|
|
|
|
|
|
Z
|
热电阻
|
|
|
|
|
|
|
|
|
|
|
|
|
|
|
|
|
|
|
|
|
|
|
|
|
|
|
|
|
|
|
|
|
|
|
|
|
感温元件材料 分度号
|
|
P
C
|
铂 Pt100
铜 Cu50
|
|
|
|
|
|
|
|
|
|
|
|
|
|
|
|
|
|
|
|
|
|
|
|
|
|
|
|
|
|
|
铂电阻元件
|
|
无
2
|
单支
双支
|
|
|
|
|
|
|
|
|
|
|
|
|
|
|
|
|
|
|
|
|
|
|
|
|
|
|
|
安装固定形式
|
|
1
2
3
4
5
6
|
无固定装置
固定螺纹
活动法兰
固定法兰
活络管接头式
固定螺纹锥形式
|
|
|
|
|
|
|
|
|
|
|
|
|
|
|
|
|
|
|
接线盒形式
|
|
2
3
|
防喷式
防水式
|
|
|
|
|
|
|
|
|
|
|
|
|
|
|
保护管直径
|
|
0
1
|
Φ16
Φ12
|
|
|
|
|
|
|
|
|
|
|
|
工作端形式
|
|
G
|
变截面
|
|
|
|
|
|
|
|
|
|
|
|
HD-W
|
Z
|
P
|
2
|
——
|
2
|
2
|
0
|
G
|
典型型号示例
|
|
| |
|
选型须知
|
|
1)型号
2)分度号
3)精度等级
4)安装固定形式
5)保护管材质
6)长度或插入深度
|
|
例A:热电阻,Pt100型,A级,固定螺纹 M27×2,保护管316L,长度450mm,插入深度300mm。WZP-220,Pt100热电阻,L×I=450×300,I级,保护管316L,螺纹 M27×2。
|
热电阻(适用于铠装和隔爆热电偶)
|
|
|
序号
|
形式
|
保护管材质
|
公称压力
|
热响应时间
|
备注
|
|
1
|
无固定
|
1Cr18Ni9Ti
|
常压
|
<90S
|
保护管外径为Φ16、Φ12两种具体要求双方协商而定
|
|
2
|
固定螺纹
|
≤10MPa
|
|
3
|
活动法兰
|
常压
|
|
4
|
固定法兰
|
≤2.5MPa
|
|
5
|
活络管接头式
|
常压
|
|
6
|
固定螺纹锥形式
|
≤30MPa
|
|
7
|
直形管接头式
|
常压
|
|
8
|
固定螺纹管接头式
|
|
9
|
活动螺纹管接头式
|
|
|
|
|
|
固定装置类型
|
插入深度L (mm)
|
备注
|
|
150
|
200
|
250
|
300
|
400
|
500
|
750
|
1000
|
1500
|
2000
|
|
无固定
|
|
保护管总长
L=l+150
特殊插入深
度及其保护
管材质可按
协议定货
|
|
固定螺纹
|
|
活动法兰
|
|
固定法兰
|
|
活络管接头式
|
|
固定螺纹锥形式
|
|
直形管接头式
|
|
固定螺纹管接头式
|
|
活动螺纹管接头式
|
|
| |
|
保护管材质及选用
|
|
材质
|
使用温度
|
特点及用途
|
|
1Cr18Ni9Ti
|
-200~800
|
具有高温耐蚀性,通常作为一般热钢使用
|
|
304
|
-200~800
|
低碳含量,具有良好耐晶间腐蚀性,通常作为一般耐热钢使用
|
|
316
|
-200~750
|
低碳含量,具有良好耐晶间腐蚀性,作为耐腐蚀钢使用
|
|
316L
|
-200~750
|
超低碳含量,具有良好耐晶间腐蚀性,作为耐腐蚀钢使用
|
|
310S
|
-200~1000
|
具有高温抗氧化性,耐腐蚀型通常作为热钢使用
|
|
GH3030
|
0~1100
|
镍基高温合金钢,具有优良抗氧化性,耐腐蚀型,通常作为耐热钢使用
|
|