logo nu Map
网站首页公司简介产品展示企业动态产品报价技术文章在线留言联系午夜免费福利
江苏午夜成人APP在线观看仪表有限公司
导航菜单
流量计系列
· 智能电磁流量计
· 插入式电磁流量计
· 分体式电磁流量计
· 卫生型电磁流量计
· 阿牛巴流量计
· V锥流量计
· 午夜成人小视频
· 旋进旋涡流量计
· 成人午夜免费视频
· 涡轮流量计
· 转子流量计
· 椭圆齿轮流量计
· 平衡流量计
· 弯管流量计
· 楔形流量计
· 靶式流量计
· 节流装置
· 热式气体质量流量计
· 一体化成人午夜免费视频
· 午夜免费福利
· 气体涡轮流量计
· 金属管浮子流量计
· 温压补偿午夜成人小视频
· 一体化威力巴流量计
· 蒸汽流量计
· 阀门组
温度仪表系列
· 热电阻
· 热电偶
· 温度变送器
· 双金属温度计
压力仪表系列
· 压力变送器
· 差压变送器
· 压力真空表
· 精密压力表
· 膜盒压力表
· 隔膜压力表
· 耐震压力表
· 不锈钢压力表
· 电接点压力表
校验仪表系列
· 校验仿真仪
· 多功能校验仪
· 精密数字压力计
· 全自动校验装置
· 智能压力校验仪
· 手(电,自)动气压源
· 手(电,自)动液压源
液位仪表系列
· 密度计
· 液位变送器
· 锅炉液位计
· 磁翻板液位计
· 超声波液位计
显示,记录仪表系列
· 智能巡检仪
· 智能调节仪
· 无(有)纸记录仪
· 安全栅、隔离器
料位开关/料位计
· 料位计
· 料位开关
mulu
搜索 请输入关键字
联系午夜免费福利
江苏午夜成人APP在线观看仪表有限公司
    址:江苏省金湖工业园区
    编:211600
    话:0517-86500336      
                        86500226
    真:0517-86800636
联系人:杨经      
手机:13915187193(微信同号)
E-mail:jshdyb@163.com
 
技术文章

旋进旋涡流量计的机械结构


发布日期:2020-07-02 点击:2311次
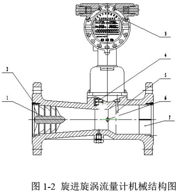
旋进旋涡流量计主要由以下七个基本零部件组成(图1-2)

1.旋涡发生体
  又名起旋器,固定在收缩管的前半部分,具有固定角度的铝合金螺旋叶片,其功能是迫使流体介质产生强烈的漩涡流。
⒉ 壳体
  材质一般为铸铝合金或者不锈钢(可根据壳体内部压力大小来选择),它自带法兰盘,并具有一定形状的流体通道(包括收缩段以及扩散段)。
⒊ 智能流量计积算仪(本文主要设计部分)
  以MSP430f149 单片机为处理核心,具有数字信号处理接口、温度压力检测接口、输出信号接口、并配有液晶、按键以及其他的外围电路[7]。
4. 温度传感器
  本设计选用Pt100 为温度传感器,随着温度的升高或降低,其电阻值会按照其对应关系变化。(做为气体介质流量测量时,温度压力补偿计算用)
5. 压力传感器
  本设计选用压电扩散硅桥路为压力传感器,在有外用力的情况下,其桥臂电阻值会呈现一定比例的变化。因此在一定的激励电流作用下,两桥臂之间的压差会与外界压力成比例变化。(做为气体介质流量测量时,温度压力补偿计算用)
6. 压电晶体传感器
  对旋进旋涡流量计进动频率信号进行检测,它放置在靠近壳体扩张段的喉部(壳体流体通道扩散段处)。
⒎ 消旋器
  又名整流体,把消旋器
相关新闻:
电磁流量计衬里磨损检测技术要点
涡轮流量计对液体清洁度的技术要求
液体涡轮流量计轴承润滑方式及应用要点
成人午夜免费视频流量计算公式及应用说明
电磁流量计衬里更换技术规程
午夜成人小视频漩涡频率与流速的换算原理及公式
成人午夜免费视频的取压方式有哪些?
午夜免费福利的探头如何安装?
电磁流量计的绝缘电阻如何测量?
成人午夜免费视频的安装直管段长度要求是多少?
江苏午夜成人APP在线观看仪表有限公司  版权所有     地址:江苏省金湖工业园区   邮编:211600
           电话:0517-86500226   86500336 传真:0517-86800636   手机:13915187193    联系人:杨经理
E-mail:jshdyb@163.com   GoogleSitemap   baidusitemap 网址:http://www.9xiw.com 
网站地图